few hundred? that’s cope. Try tens of thousands or even hundreds of thousands
I like how the chinese community will happily accept western copypasta for Taiwan (I just lost 1 mil social credits), but GOD FORBID someone else gets a single chinese vehicle.
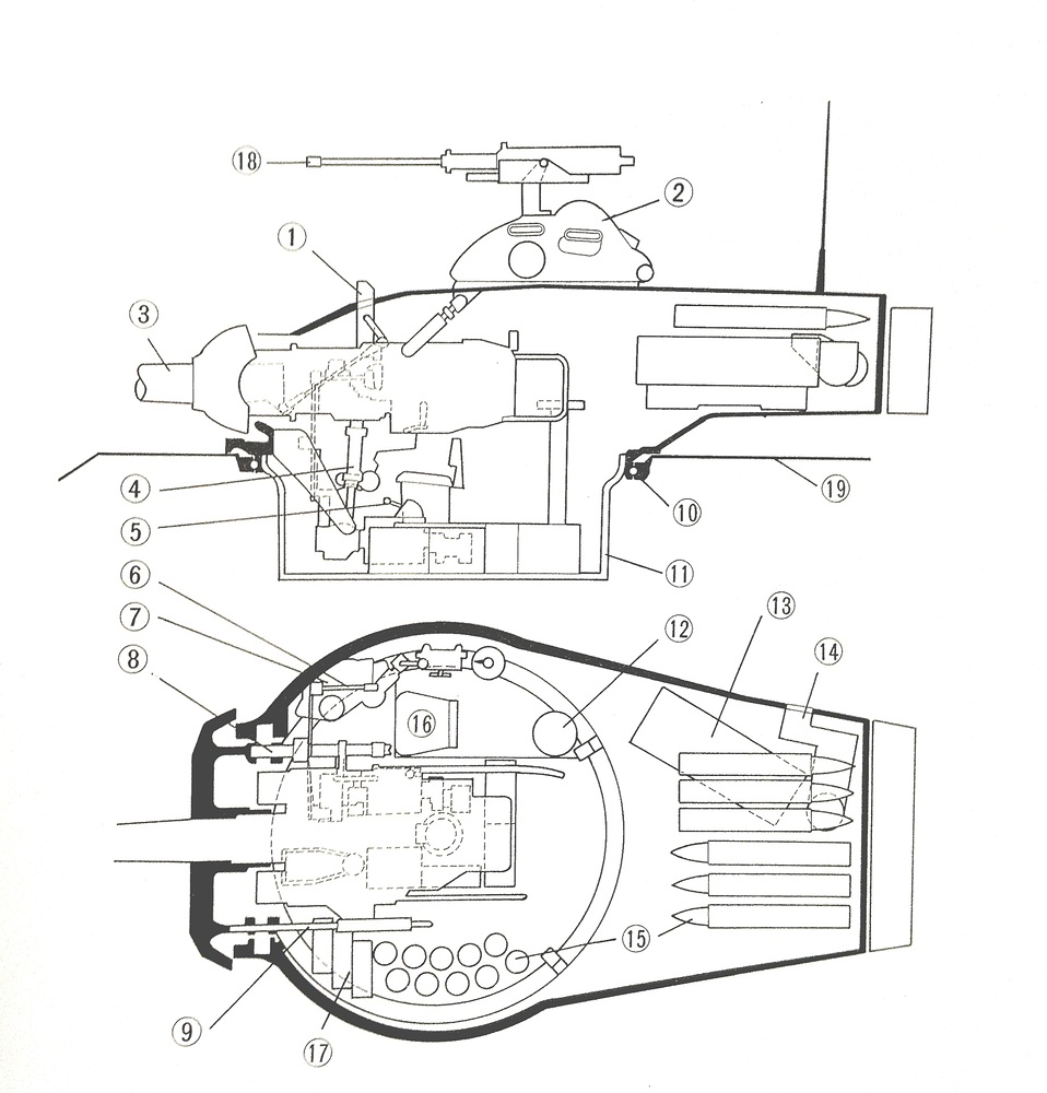
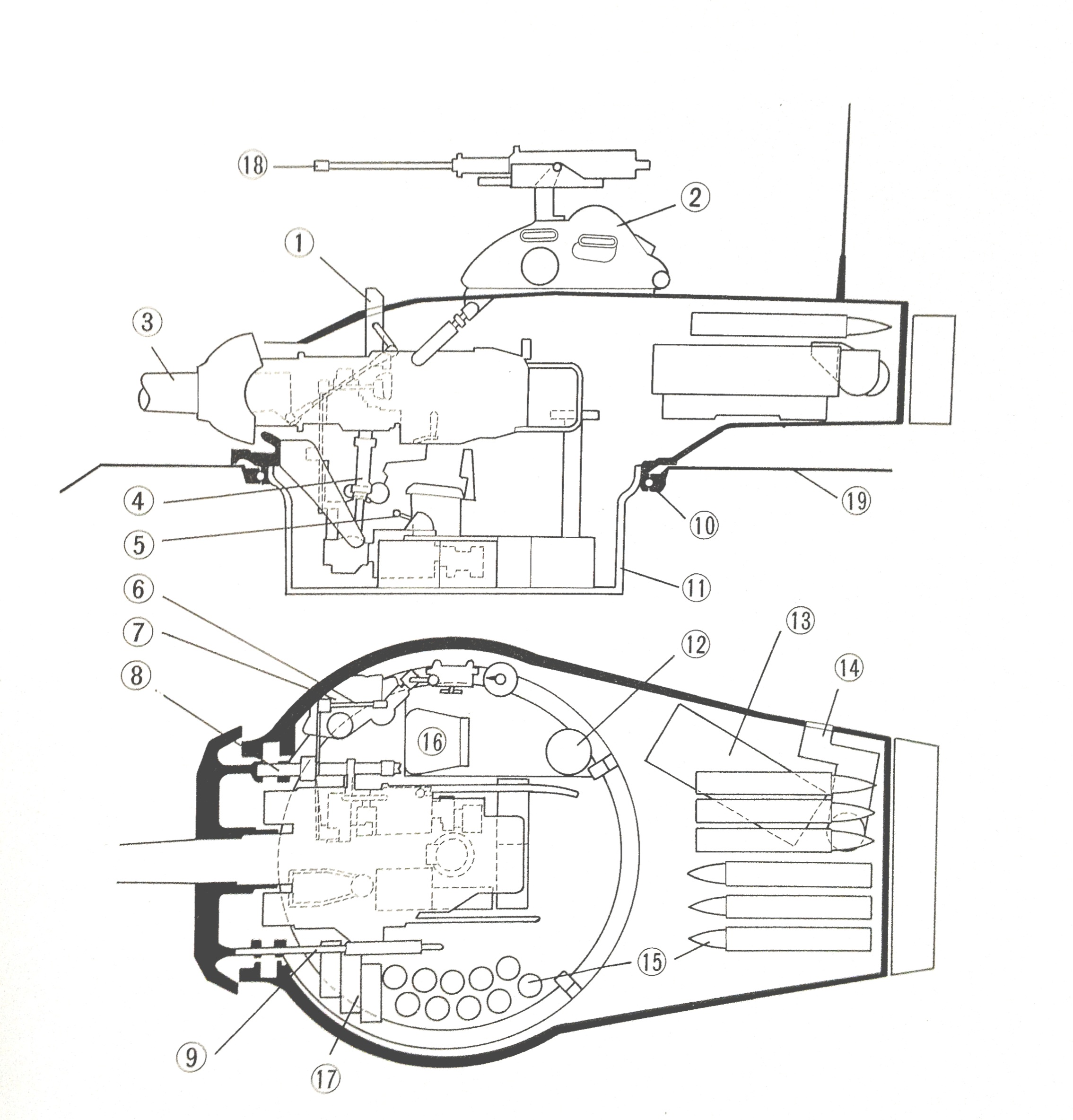
Some cool diagrams about the Type 61
Turret interior
Hull interior
I got them from a magazine about the Type 61 and if they ever want to add detailed interior for the type 61(for some reason of course) might give an idea of how the interior is distributed, there’s also actual images of the interior if anyone wants to see them, I can also attach the explanation of the numbers later
could you drop down the name for the magazine, i’d love to get my hands on one and take a read :D
Seem like Gaijin found a way to attract our attention away from the Thai VT-4 issue. Seem like they want to persuade us that “Blow-off panel” can only preventing fire, I’m not sure who’s idea is this but I feel like I had being humiliated. If it only can preventing fire then why it not called "firewall"🤦♂️
Would be glad with any information/diagrams/internal photos and etc
I remember you was sending info about STA-4 also and would be nice to get info about this one too
Even on their own forums it was 600~ responses and a few thousand views. The response was not in the tens of thousands and definitely not in the hundreds of thousands.
I’ll give you the cover so is easier to look for it!
I have 2 magazines the other one is visible in my STA-4 discussion
Apologies for not responding sometimes I just get too distracted, I’ll upload the other images later but to respond your question, good news it seems like you are correct regarding the commander-main gun control:
I’ll look more into it after work, yeah that’s why I’m responding right now I brought to work so I could read it, the sentence comes from a list of decisions that were took before the Type 61 entered production
Here’s translated:
Yep. I’m gonna post it again. Just to lyk though, here’s what I wrote:
Is it just me or when using Gunner’s/Sim sights, does setting range not account for parallax in the Stingray? Seems like an odd error to make, as it works properly on the VFM5 and M60 TTS.
Point of aim is the T-55A’s “Left” (our right) lifting eye, the VFM5 hits right on target, the Stingray hits the lower plate about in the middle.
Stingray, VFM5, & M60A3 TTS hit cams:


![[TH] M60A3 TTS](https://forum-en-cdn.warthunder.com/original/4X/3/3/f/33fc26444f7bca4f5123c9274aba367caf76689e.jpeg)
Thanks mate :D
awww its out of stock :(
I need sth like a Thai adats, I’m sick of getting lumred, jagmed, cm502ed🤡
The stock grind for the Stingray and M60A3 is miserable
Too many 10.3 uptiers like woah
Thats just 9.3 in general lol
Stingray is a lot more fun than the Type 90s atm.
Then you go to play 10.3 and everything is an uptier to 11.3
Sometimes I really wish uptiers were just .7 maximum from your current battle rating
Agreed
Aye, but the difference is all of my other 9.3s are already spaded. T-80s aren’t fun to deal with when you have 105 heat.
There’s a reason I haven’t got for the oplot yet. maybe after the BR changes where they’ll definitely be doing some decompression right? right?








