ok? do you have evidence that they dont use the same bad system as the earlier igla?
Lateral acceleration: 20 g
I’m looking for a keyword maximum or peak, it shouldn’t be that hard to find, right ?
Is there any evidence that they do ?
other than the fact that at least on of them is a later varient of the same missile?
G averaging should not apply to the Stinger, read the report its properly sourced and goes into detail as to why. It’s explained there.
Do I need to repeat myself ?
They do have much larger control surfaces in the case of the igla-s and the verba is not a variant of the igla

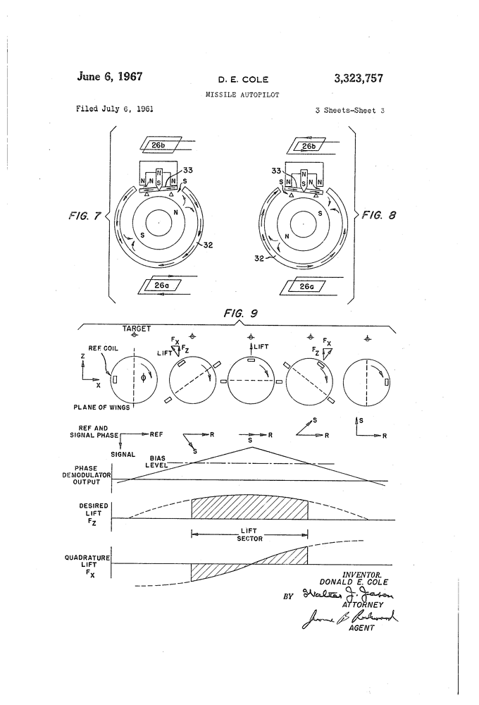
Ok fine, Compare the following excerpts’ Figure. 6C & -6D and Figure -9.
Note the lack of Quadrature / Horizontal acceleration.
Just get to the chase, I’m not a Bug Manager that you need to spam with stuff so I get bored reading through all of it and just pass it along to devs so they deal with it instead. My conditions are pretty clear I guess.
yes and it gets slightly better G pull because of that, but there is nothing that indicates it uses a different guidance system
It doesn’t exist because the reasoning used in the MANPADS article is flawed and should not apply to the Stinger, as shown.
As, the Stinger uses variable incidence actuators, instead of Bang-Bang type as on the Igla.
And can preempt the roll rate and rate of change of roll due to the sensor unlike the Igla.
Still they are not the same missile so simply claiming that they use the same 70-80s soviet guidance is a bit of a simplification.
it is an upgraded version of that missile, it very much makes sense that it uses the same guidance principals unless it is specified otherwise
and it is a much more reasonable assumption than that a US missile would use 70s soviet guidance principals
The verba is still not an upgrade and the use completely different electronics, it isnt like nowadays the russian only know how to program bang bang actuators…
it is still designed in the same form factor, and uses the same control surfaces of the igla, so it is very much a related design, so makes much more sense than saying stinger uses igla guidance
they dont…
really? from the images I found it looks like it has the same control layout of the igla s, which is still an igla
Yes i know, this is the only plane used by VKS which is using R-77 double racks
No, the space between engines on the Su-27SM, Su-30SM are the same as on Su-35S if i remember correctly. Gaijin just added racks from other flanker model to older ones as “balance change”.
on the case of the verba they are also larger, and still the difference in the guidance between the the original iglas and the stingers is not on the physical layout but on the electronics, actuators and the control, and defaulting to the 80s performace as there is a lack of information on these missiles newer missiles is just wrong as in the case of the stingers.
I have used the T-10M, pre decompression and post. Reload gets me every time. That’s why it’s mid at best


