I’d like to suggest a small addition to Soviet fire control systems, the Delta-D automatic travelled distance compensator.
What about other nations?
I’d first like to quickly go over why this is just for the Soviets (and other nations that use these Soviet vehicles). As far as I could find, no other vehicle series from other nations uses this type of system, but if I’m wrong on this do absolutely let me know, as those vehicles should then get it as well. Seeing as this is FAR from a major feature though, I think it’s more than fine that just the Soviet tanks get this addition.
What is Delta-D?
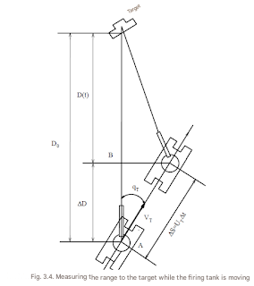
Delta-D is a system used by all Soviet main battle tanks, from the T-64 onwards + the T-10M. When you hit an enemy tank with your laser range finder (or manually set the range) and then advance, this system will automatically adjust the set sight range depending on how far you move. Say you lase an enemy 1700 meters away, your sight distance will automatically be set to that distance. If you were to now move 200 meters forwards, your sight will keep your vehicle’s movement into account and automatically adjust the range to 1500 meters, and so on. Your gun has to stay aimed towards the target, otherwise the system will start giving incorrect ranges. As this system uses the movement information from your own vehicle, if the enemy vehicle moves, ranges might become inaccurate as well. If you think the system is giving you incorrect numbers, you can re-lase the same target again to reset the range and make sure it’s accurate again. If you want to see more clearly how this system works, the game Gunner Heat PC has this fully modelled on their Soviet tanks.
How would this work in-game?
In the actual game it’d work as described. After lasing an enemy, your sight distance will automatically be adjusted if you move forwards, as long as your gun stays on target. This feature would function fully automatically, and requires no input from the player. However, as in certain scenarios it could be beneficial to not have this feature active, an option should be added to toggle this feature on and off with the press of a button.
Conclusion
I think this would be a very neat feature to have, that would add more depth and realism to Soviet tanks, and would make it easier for them to advance, as you now no longer have to wait for the delay of the regular laser range finder. Again, if other vehicles have this system or similar as well, do let me know, as those should absolutely get it as well. God bless.
- Yes
- Yes, with changes
- No
Sources:



