That has literally come out of v russian source quite a few times of the years since the r77m has been knwon to exist
Please mention those sources
Regarding the recent rumours, aesa seeker head is confirmed, but dual pulse is extremely likely to happen
Optimistic at best, r77m was started as a competitor to aim120d likely before aim260 even became a project or
Source about aesa seeker being confirmed? I find it hard to believe russia would choose an aesa seeker in the position they are in, aesa seekers are great but as far as we know theyre hardly gamechangers.
I think the eraliest rumor about aesa seekers on r77m might have been back in 2020. I dont remember when it was reported r77m started trsting but it shouldve been a few months before it at least.
Its kinda hard to old articles considerin the internet is full of videos and articles reporting the recent usage in ukraine although im fairly confident the first public news regarding r77m began in 2019 and it had to do with testing or adoption i dont recall well
I thought aesa was confirmed for the internalized r37m for the 57 not the 77m
Internalized r37m? Siiiick those must look badass slinging out from under the IWB
There is very little to no reputable talk regarding r77m. Most of what we know is observable, such as the noticeably larger body traditonal fins. Vympel is very silent on the missile. Like it might have an aesa but the only place where that was ever stated was on news sites the reputability of which varies alot.
And i genuinely think an aesa seeker would be a net negative for 2025 russia. It would hinder procurement process needlessly.
quite different to change the purpose of anti-radiation missile, already launched by aircraft, and using SAM missile, to make it an Air-Air one.
Never seen service outside of testing, also the F-101 radar or the MIM-23 was modified to be able be launched. (differences in technologies used on both systems in normal state) → thing the Sedjil didn’t had to do as AIM-176 - radars are able to guide those seekers.
the RIM-176 is already using AIM-120C5 seeker (reportedly by some thrid sources,… so take a pinch of salt with that one)
Probably a more powerful derivative of the AIM-120C seeker, the radar can be way larger on the Standard. That increases potential total power output for the Standard ERAM radar seeker.
It uses the developments on amraams, but does not use AMRAAM completely. Otherwise, there would be no talk of any anti-ballistic capabilities.
You do get that the AGM-78 is already a modified Standard missile (RIM-66) airframe.
missed that,… it took the long way out to reach such means, but many components changed throughout the developpement.
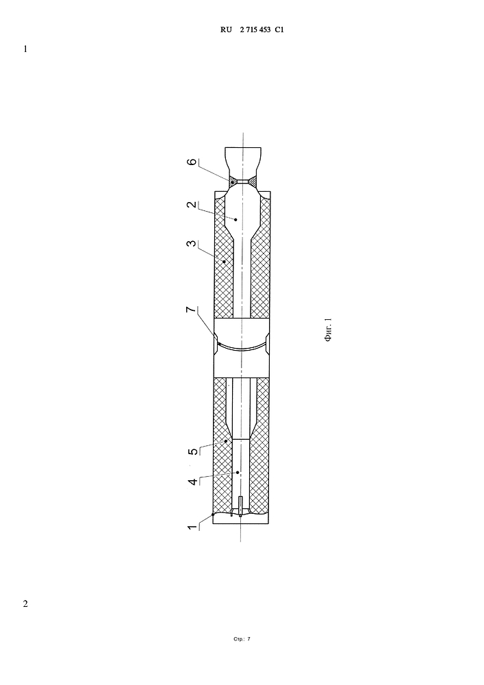
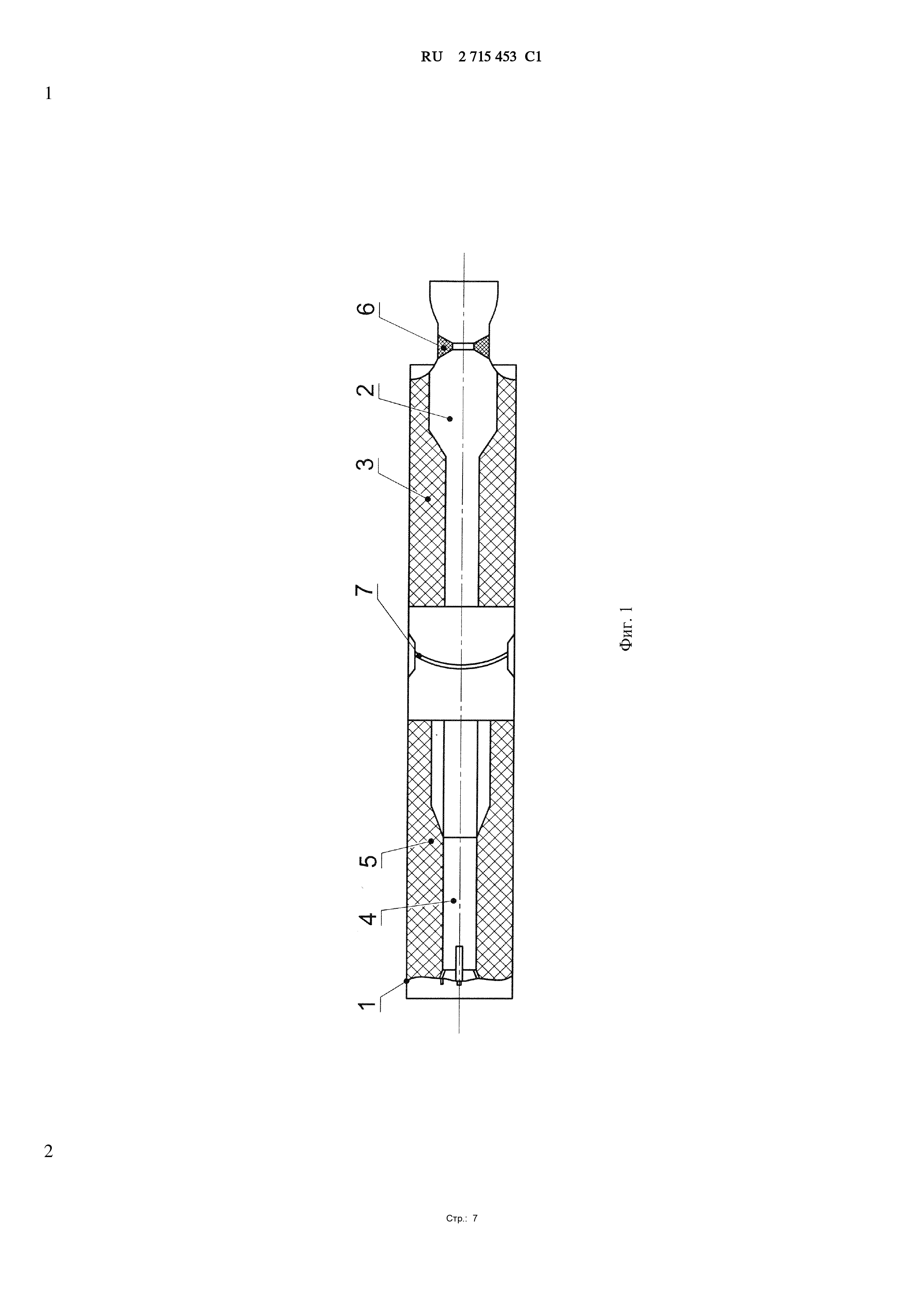
I seem to have lost the aesa seeker source, ive asked someone who had it, but I found something else on spf today, a patent, which possibly proves the dual stage motor of r77m
for what i know regarding smaller aesa russian seekers, the have made this:-

the size seems to be for izdelie 810, the internalized r37m
it looks like a VERY beef mica
AIM-260 is just a continuation of the JDRADM and T-3 missile projects from the early 2000s. They tested the dual pulse motor all the way back in like '06 or '07 iirc or maybe it was '09. JDRADM cancelled in 2013 and T-3 development continued, these technologies and developments are now being brought to fruition with JATM
i dont have time to read the patent right now, but the pictures look quitegood as you said
dual pulse isnt exactly a insanely hard to figure out concept that wasnt my point when i said that.
I recommend you look up some of the other advancements those missiles offered.
i have a decent idea of what does programs entailed(i think aim260 is as much as successor do jdradm as aargm er) that is besides my point, regardless i think we should go back to the topic at hand, aim120s need fixing.









