- Yes
- No
Hello, today I have something special to suggest: the Object 640. It was designed by Omsktransmash in 1990s but sadly went bankrupt. But still were able to build the prototype.

Black Eagle at Omsk Arms Show in June 1999


Graphical representation of the longer chassis variant
Specifications
Spoiler
Armament:
-2A46 (-M2/-M4, source info differs) smoothbore cannon
-7.62mm pkt coax
Protection:
-composite armor (no info)
-active protection system (only proposed)
-kaktus era (on the turret), kontakt-5 (on the hull)
Weight:
-48 tonnes
Crew:
-gunner
-commander
-driver
Engine:
-GTD-1250/1400/1500, 1250, 1400 or 1500 horsepower turbine engine (source info differs)
Development
During the 1980s, the development of the object 640 started in the design bureau of the Leningrad Kirov Plant. The design was based on a T-80U stretched hull. The bureau closed and passed the design to KBTM in Omsk.
In September 1997 a mock-up of the Black eagle showed up and was demonstrated in the VTTV arms exposition in Omsk. It was later found out that the turret was made of wood.
In June 1999, an early prototype of the object 640 was shown in Siberia. The tank had a stretched hull of the T-80U having 7 pairs of road wheels instead of 6. It looked like to have very thick front armour and a new-generation Kaktus explosive reactive armor on the turret and kontakt-5 on the hull. The turret featured box-shaped bustle autoloader with blow-out panels instead of the classic carousel autoloader, which made possible to make the cannon fire longer projectiles. The turret crew were seated below the turret ring.
Cancellation
Due to financial problems, questions about the reliability, the design and the performance, the project was formally cancelled by omsktransmash in 2001. Because of the poor performance of the T-80 platform it was decided to never produce tanks with turbine engines ever again. This included the object 640, which was fully cancelled in 2009. Omsktransmash tried to appeal the decision, but they weren’t able to do that after filing bankruptcy in 2002.
In late 2011 it was announced that some technical solutions from object 640 and object 195 would be incorporated into T-14 armata.
Parts of the object 640
Spoiler
Tank x-ray


The hull


The turret





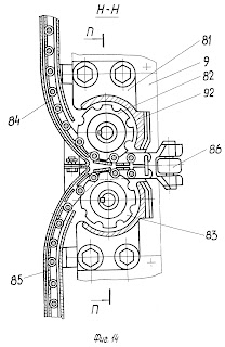
The autoloader






More more info about the autoloader is in this website СТАЛЬ И ОГОНЬ: СОВРЕМЕННЫЕ И ПЕРСПЕКТИВНЫЕ ТАНКИ: АЗ танка объект 640 "Черный Орел" (contains big and small parts of the autoloader.)
Pictures
Sources







