Hi !
This topic will talk about German biggest bombs every built and could be added but not 100% also the sources are so limited !
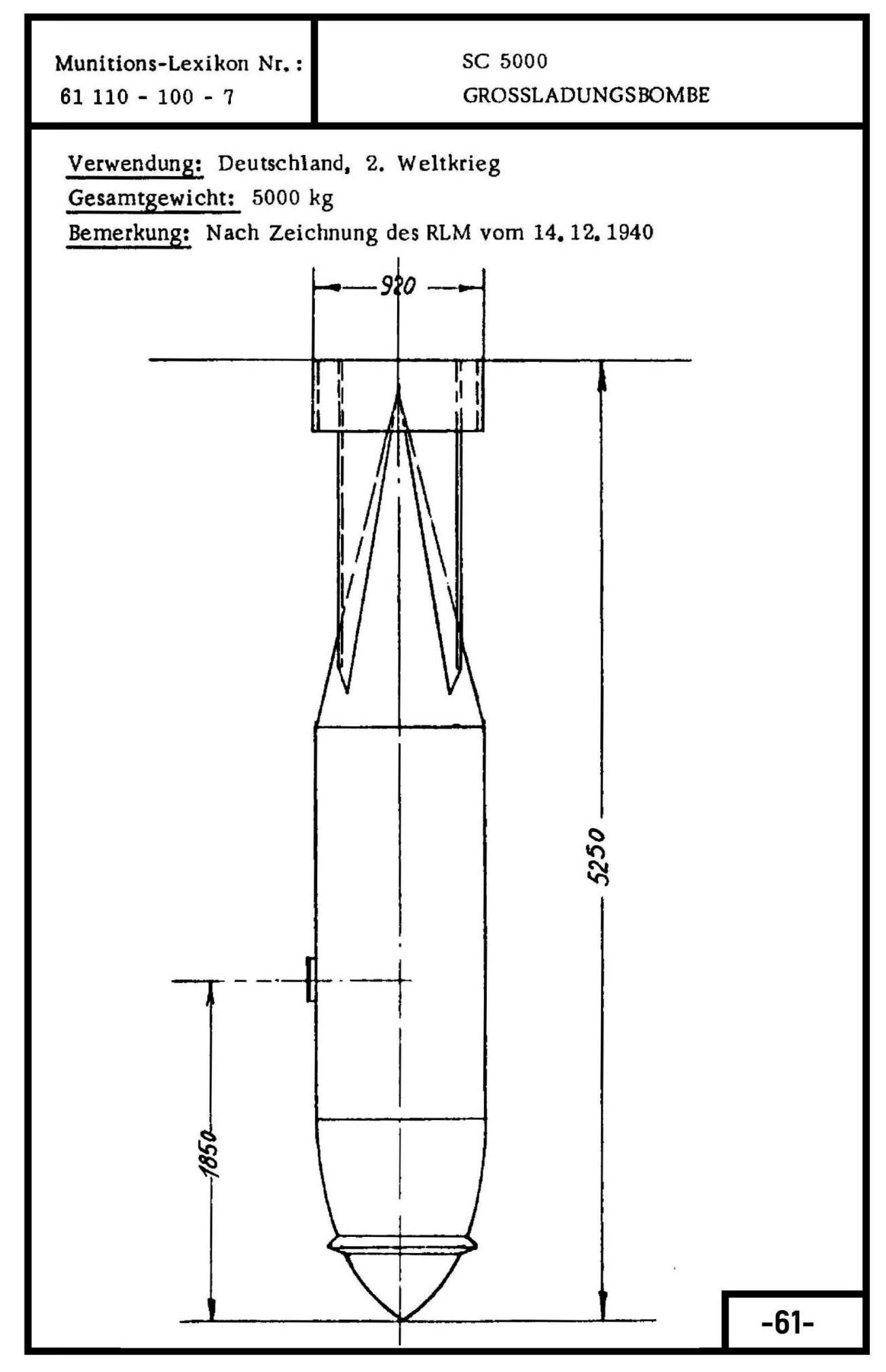
SC 5000 could be fake
SHL 6000 built?
SA 4000 this bomb was built and used !
Biggest bombs was made and planned !
Very limited sources !
Some claims says SC 5000 was used very limited in the He 177
how every Germany had bigger bombs that was very limited in use but mostly used by He 177 !
if you have better sources and books feel free to put them in chat !
Disclaimer:
numbers could be not 100% right !
List of bombs
Some of them could be build and not build !
Folder 1
Type: Großladungsbombe SB 1000
Bomb weight: 1,000 kg
Explosive weight: 735 kg to 850 kg
Explosive filling: kg
Fuze type: eAZ 165 cm cable length
Length: 2,650 mm
Diameter: 660 mm
Type: Großladungsbombe SC 1000
Bomb weight: 993 kg to 1,027 kg
Explosive weight: 530 kg to 590 kg
Explosive filling: kg
Fuze type: El.AZ electrical impact fuze
Length: 2,580 mm
Diameter: 654 mm
Folder 2
Type: Großladungsbombe SB 2500
Bomb weight: 2,430 kg
Explosive weight: 1,570 kg
Explosive filling: Fp 60/40 Trialen
Fuze type: El.AZ electrical impact fuze
Length: 3,693 mm
Diameter: 785 mm
Type: Großladungsbombe SA 4000
Bomb weight: 3,360 kg
Explosive weight: 2,700 kg
Explosive filling: Amatol 50/50
Fuze type: eAZ electrical impact fuze
Length: 4,445 mm
Diameter: 952 mm
Type: Hohlladungssprengbombe SHL 6000 !?
Bomb weight: 6,000 kg
Explosive weight: 4,000 kg
Explosive filling: kg
Fuze type:
Length: 3,900 mm
Diameter: 2,400 mm
Folder 3
Type: Minenbombe SC 1800
Bomb weight: 1,879 kg
Explosive weight: 1,000 kg
Explosive filling: kg
Fuze type: El.AZ electrical impact fuze
Length: mm
Diameter: mm
Type: Minenbombe SC 2000
Bomb weight: 2,000 kg
Explosive weight: kg
Explosive filling: kg
Fuze type: El.AZ electrical impact fuze
Length: 3,500 mm
Diameter: 440 mm
Type: Minenbombe SC 2500
Bomb weight: 1,700 kg
Explosive weight: kg
Explosive filling: Trialen
Fuze type: El.AZ electrical impact fuze
Length: 3,895 mm
Diameter: 829 mm
Type: Minenbombe SC 5000 ??
Bomb weight: 5,000 kg
Explosive weight: kg
Explosive filling: kg
Fuze type:
Length: 5,250 mm
Diameter: 920 mm
images :
Folder 2




Edit:
removed small bombs data and made spaces for images
Removed more images
:D















































